信号保安器 NT4100シリーズ【生産終了】
概要
ウォールマウント型のデジタル信号用保安器(BCD信号アレスタ)です。
信号回路の入力または出力間に挿入し、外部サージ電圧から電子機器を保護します。
「アレスタ」「避雷器」「サージアブソーバ」「サージプロテクタ」「SPD(Surge Protective Device)」などと称されることがあります。
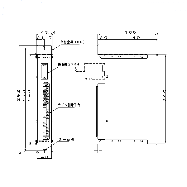
外観

特徴
- インタフェースは、コネクタ(保護すべき機器側)-端子台(ライン側)となります。
- 5桁のBCD(+パリティ)信号に対応します。
仕様
| 入力数 | 26ビット |
|---|---|
| 最大許容回路電圧 | DC65V |
| 動作開始電圧 | 85V (72~98V) |
| 制限電圧 | 150V以下 (8×20μS、40A時) |
| 衝撃放電耐圧 | 2500A |
| 使用周囲温度 | -20~+56℃ |
| 塗装色 | マンセル5Y7/1半ツヤ |
| 重量 | 約2kg |
外形図


